大家好,我是二级保护废 物——绿豆。
转眼间,魔幻的2021即将过去,全新的纪年即将开始,在这里,我依旧在这里给大家提一个必须在这个时节做,却容易被忘却的事——“白嫖”暴雪的福利。
为了回馈充值玩家,每在战网充值过1元(支付宝、微信、银联、网易快捷方式均可),即可额外获得1积分,也就是充值之后正常全额消费外,你还可以用相应的积分获得额外的礼品,比如额外的卡包等等,而这个积分年底会清零,也就是必须在2021年12月31日及之前完成兑换。
除非您是八十万禁军教头

积分商城内除了含有经典卡包外,还有近两年版本卡包(最新的没有,毕竟要卖钱的嘛)、极其实用的改名卡、限量的魔兽宠物、风暴英雄7天强化剂、暗黑白金币、以及一些我根本看不懂的魔兽炫酷小玩具。
如果你觉得自己的积分不够也没关系,其中还有三款为庆祝2016年里约奥运会中国女排重夺世界冠军的风暴李敏纪念皮肤,每个只要1积分,即使不玩风暴也可以换一换,毕竟一块钱买不了吃亏,一块钱买不了……
所以说星际和守望是捡来的么?



当然按照暴雪的风格自然不可能这么良心, 炉石卡包每月最多只可以兑换10个,不是单个是所有卡包的上限哦。
当然还有兑换区的神,人人都能用且不限数量的:改名卡!

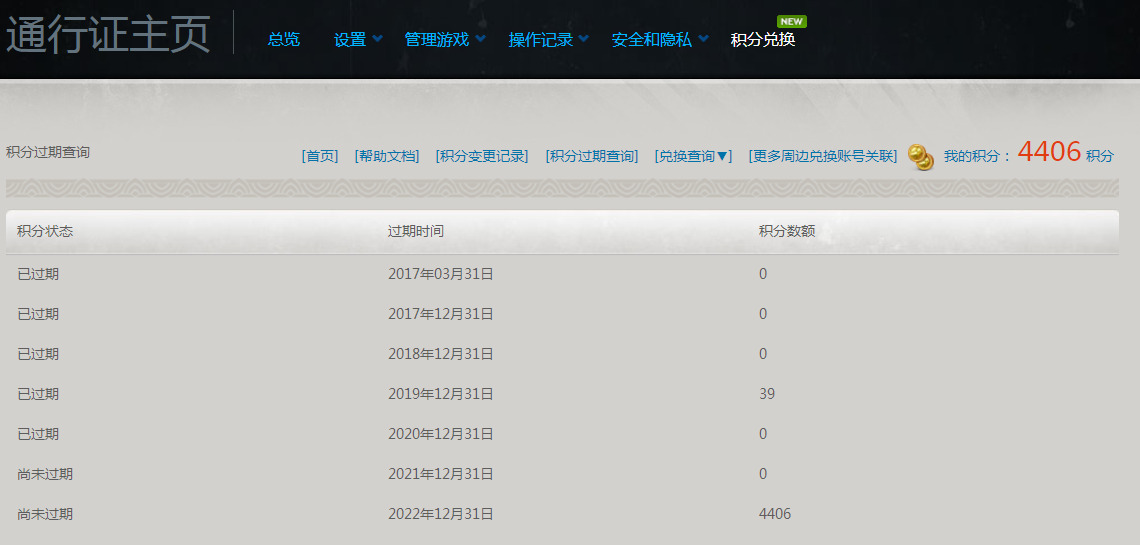
就像所有的积分系统一样,他是存在着时间限制的,即在获得日后下一个自然年结束,按照人话来说就是2020年消费获得的积分会在2021年12月31日后失效,而2021年获得的积分则可以用到2022年的12月31日,虽然战网之前也出现过突然延长兑换期,不过毕竟是少数现象,尽量在规定时间内消费掉比较好。由于商城会一直更新商品,想尽量获得最新卡包,可以等到截止日前兑换。
另外这种积分算法也导致了两年的积分混杂在一起难以区分,比如我有100分我可能不知道多少分今年过期,多少明年可用。这个可以点击积分过期查询查看。

具体领取方法:
说实话这福利藏得还挺深,好像是生怕被发现。
1.打开并登陆你的战网:手机端、PC端均可。

2.登录后在左侧目录中选择最后一项“积分兑换”

3.然后便进入商城啦,选中商品后点击下方立即兑换即可(这都2078年了,多次兑换同一商品竟然还要一次次点!)


尽快把快过期的积分花掉吧,暴雪网易白给的不拿白不拿。
希望看到的老哥们点个赞,这样才有热度让更多老哥不错过这个小福利,谢过。


