索尼不久前才为PS5发布了无障碍控制器Access,近日又被曝光正在申请全新的AR/VR控制器专利。

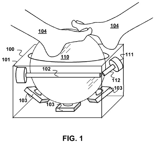
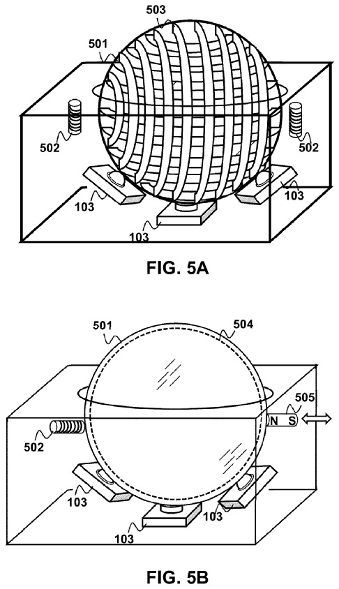
索尼在2022年6月就向美国当局申请了相关专利,直到2023年12月才对外公布。从简介中可以看出,这项专利设备将由双脚进行踩踏式位置控制,包括两个或者多个供人用单脚操纵的球体。

而在球体下方有三个或更多个轴承,让球体在滚动时更加流畅,同时也装有编码器来计算球体的旋转运动,并将数据应用到游戏中。


除了这个和轨迹球工作原理相似的设备,索尼还申请了另外一个含有触摸板的凹型脚用控制器,可用双脚进行操控。

这两种控制器都配置了CPU、储存、A/D、D/A转换器等硬件,可独立计算玩家的动作、距离,系统会再将必要的数据回传给主机。索尼还表示“足控控制器”能连接手机、PC、平板等设备使用。



