IT之家3月15日消息,根据美国商标和专利局(USPTO)3 月 14 日公示的清单,苹果公司获得了一项 Apple Watch 相关技术专利,表明苹果公司正在探索更多的交互手势。

苹果在watchOS 10.1更新中,为 Apple Watch 引入了全新的“双指互点两下”手势,用户只需连续两次轻触戴表的那只手的食指与拇指,即可快捷地进行多项常用操作。

苹果在该专利中探索了多项交互手势,其中一项有趣的新手势是“side-to-side”,就是手掌平放,手指伸出,然后手指水平地左右移动。对于玩过二十一点的人来说,就会对这个动作很熟悉,因为这等同于告诉发牌员你要弃牌。

苹果表示“side-to-side”手势可用于回复短信或接听电话,并可与其他手势结合使用。
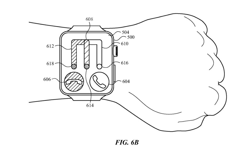
苹果在专利中另一个手势是握紧拳头,成为了许多新用户界面元素的核心。和“双指互点两下”手势类似,握紧拳头可以选择按钮或接受建议的文本回复。握紧拳头并旋转手腕,可以滚动浏览建议回复,或决定是接听电话还是将其发送到语音信箱。











